法规标准

行业标准

当前位置: 本站首页 >> 法规标准 >> 行业标准 >> 正文

DA/T 93—2022 电子档案移交接收操作规程

作者:来源:国家档案局官网 阅读次数:日期:2022年07月01日

前 言

文件按照 GB/T 1.1—2020 《标准化工作导则 第1部分:标准化文件的结构和起草规则》的规定起草。

请注意本文件的某些内容可能涉及专利。本文件的发布机构不承担识别专利的责任。

本文件由国家档案局提出并归口。

本文件起草单位:中央档案馆档案资料保护部、国家档案局科技信息化司、上海信联信息发展股份有限公司。

本文件主要起草人:黄丽华、郝晨辉、王大众、冯剑波、刘璐、孙源、袁嘉新。


引 言

文件按照 GB/T 1.1—2020 《标准化工作导则 第1部分:标准化文件的结构和起草规则》的规定起草。

电子档案的移交接收是电子档案管理流程的重要环节之一,本文件可作为指导各档案机构电子档案移交接收工作的依据,用以规范电子档案移交接收的操作流程,提高电子档案移交接收的程序规范,实现电子档案管理能力的提升。

正 文

1 范围

文件明确了电子档案移交接收的工作流程,规定了电子档案移交接收准备工作和电子档案移交接收操作的要求。

本文件适用于档案移交单位与档案馆之间的电子档案移交接收操作,其他机构之间的电子档案移交接收操作可参照使用。

2 规范性引用文件

下列文件中的内容通过文中的规范性引用而构成本文件必不可少的条款。其中,注日期的引用文件,仅该日期对应的版本适用于本文件;不注日期的引用文件,其最新版本(包括所有的修改单适用于本文件。

GB/T 18894—2016 电子文件归档与电子档案管理规范

GB/T 33190—2016 电子文件存储与交换格式 版式文档

GB/T 39362—2020 党政机关电子公文归档规范

GB/T 39784—2021 电子档案管理系统通用功能要求

DA/T 38—2021 档案级可录类光盘 CD-R、 DVD-R、DVD+R 技术要求和应用规范

DA/T 46—2009 文书类电子文件元数据方案

DA/T 47—2009 版式电子文件长期保存格式需求

DA/T 54—2014 照片类电子档案元数据方案

DA/T 63—2017 录音录像类电子档案元数据方案

DA/T 74—2019 电子档案存储用可录类蓝光光盘(BD-R技术要求和应用规范

DA/T 75—2019 档案数据硬磁盘离线存储管理规范

DA/T 85—2019 政务服务事项电子文件归档规范

3 术语和定义

下列术语和定义适用于本文件。

3.1 电子文件 electronic document

国家机构、社会组织或个人在履行其法定职责或处理事务过程中,通过计算机等电子设备形成、办理、传输和存储的数字格式的各种信息记录。电子文件由内容、结构、背景组成。

[来源:GB/T 18894—2016, 3.1]

3.2 电子档案 electronic record

具有凭证、查考和保存价值并归档保存的电子文件及其相关信息的集合。

[来源:GB/T 18894—2016, 3.2 ,有修改]

3.3 移交 transfer 

按照国家规定将电子档案的保管权交给档案馆的过程。

[来源:DA/T 58—2014, 3.7 ]

3.4 接收 accession

档案馆按照国家规定收存电子档案的过程。

[来源:DA/T 58—2014, 3.8 ,有修改]

3.5 信息包 information package

由内容信息和相关保存描述信息构成的信息整体。

[来源:DA/T 58—2014, 2.8 ]

3.6 移交信息包 transfer information package

由档案移交单位向档案馆进行移交的信息包。

3.7 元数据 metadata

描述电子档案的内容、结构、背景及其整个管理过程的数据。

[来源:DA/T 58—2014, 2.16 ]

3.8 内容数据 content data

电子文件或电子档案中包含的数字对象。

[来源:GB/T 39362—2020, 3.6 ,有修改]

3.9 电子印章 electronic seal

一种由制作者签名的包括持有者信息和图形化内容的数据,可用于签署电子文件。

[来源:GB/T 33481—2016, 3.4 ]

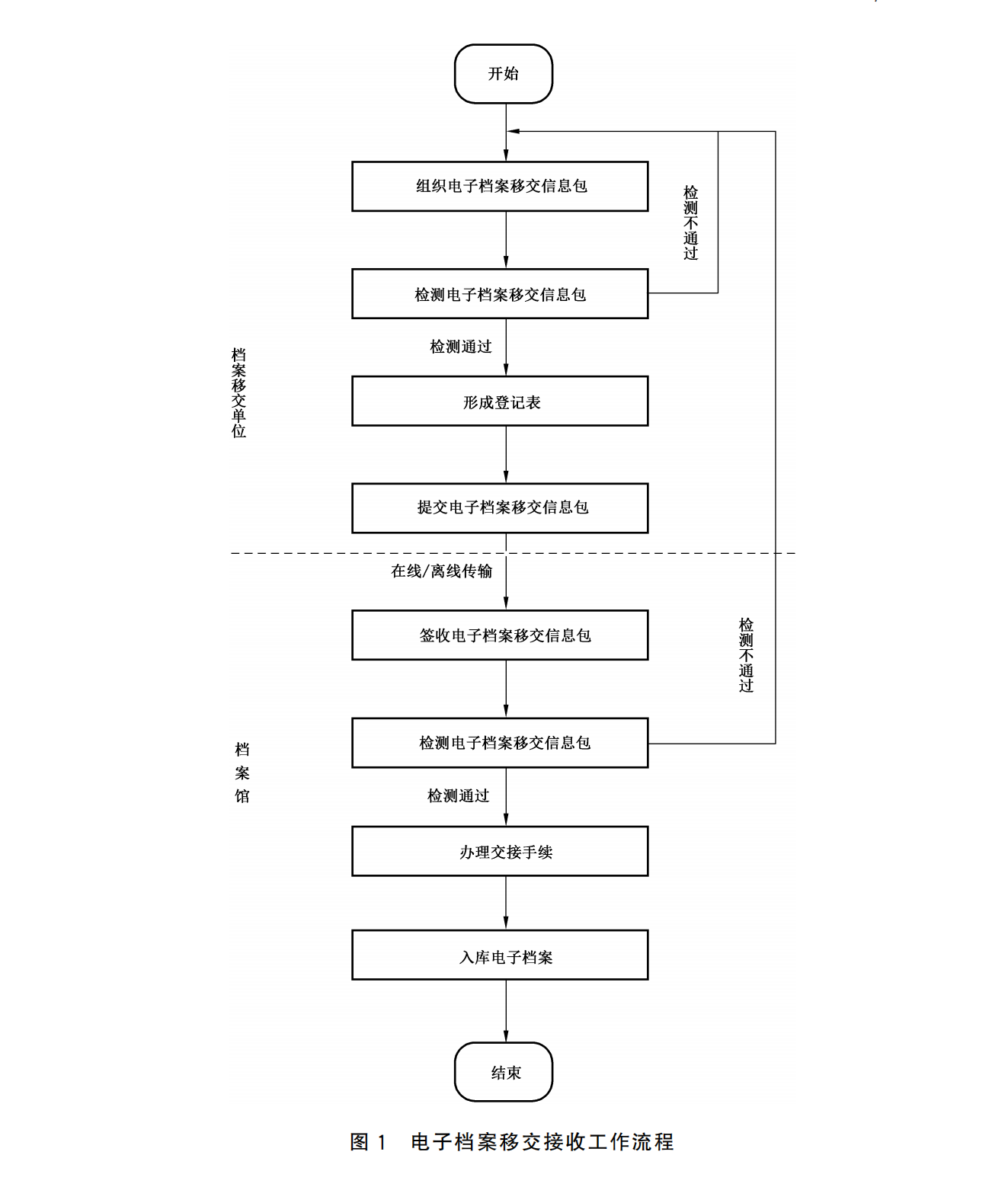
4 电子档案移交接收工作流程

电子档案移交接收工作流程一般包括档案移交单位组织电子档案移交信息包、检测电子档案移交信息包、形成登记表和提交电子档案移交信息包,档案馆签收电子档案移交信息包、检测电子档案移交信息包、办理交接手续和入库电子档案等步骤(见图 1)。

5 电子档案移交接收工作准

5.1 电子档案移交工作准备

5.1.1 在线移交工作准备

档案移交单位应通过符合安全管理要求的网络向档案馆移交电子档案,配备相应的应用系统和设施设备,应用系统应具有开放性和可扩展性,满足 GB/T 39784—2021中5.1、5.2的要求。

涉密电子档案的在线移交应严格遵守国家相关保密规定。

5.1.2 离线移交工作准备

档案移交单位应配备符合安全管理要求的光盘、硬磁盘等存储载体,存储载体的选择和检测应符合 DA/T 38—2021、 DA/T 74—2019、DA/T 75—2019 的要求。

涉密电子档案的离线移交应使用涉密离线载体单独移交,并严格遵守国家相关保密规定。

5.2 电子档案接收工作准备

档案馆应按照电子档案移交接收工作相关要求做好电子档案接收的各项准备工作。

档案馆应配备符合安全管理要求的网络、应用系统和设施设备,应用系统的功能应满足 GB/T 39784—2021中 5.1、5.2、5.3、6.1、6.2、6.3、6.5 的要求。

5.3 电子档案移交数据的准备

5.3.1 电子档案移交数据的组成

移交的电子档案数据主要包括电子档案的目录数据、内容数据和元数据等。

5.3.2 电子档案目录数据准备

电子档案一般以件为单位进行管理,其目录数据项目应至少包括:顺序号、档号、责任者、题名、日期、保管期限、密级、页数、备注等。

电子档案以多层级进行管理的,其目录数据项宜按照 DA/T 18、DA/T 39、DA/T 50、DA/T 78、DA/T 85—2019 的要求进行设置,并保持各层级之间的关联。

5.3.3 电子档案内容数据准备

电子档案内容数据的数据类型和格式应符合 GB/T 18894-2016 中 8.3、GB/T 33190—2016、GB/T 39362—2020 中第 9 章、DA/T 47—2009 的要求。

5.3.4 元数据准备

文书类电子档案的元数据应符合 DA/T 46—2009、GB/T 39362—2020 中 7.2、 DA/T 85—2019 中第8章的要求,照片类电子档案的元数据应符合 DA/T 54—2014 的要求,录音录像类电子档案的元数据应符合 DA/T 63—2017的要求,其他门类电子档案的元数据项应符合相关标准要求。

6 电子档案移交

6.1 组织电子档案移交信息包

6.1.1 确定待移交电子档案

档案移交单位应按照电子档案移交范围和时间要求确定待移交电子档案,并按照附录 A 中表 A.1 的样式生成《电子档案移交清单》。《电子档案移交清单》应与电子档案共同移交。《电子档案移交清单》应采用版式文件格式或由档案移交单位与档案馆双方约定文件格式。

6.1.2 编制移交说明文件

档案移交单位应编制说明文件,存放与移交电子档案有关的信息,包括电子档案的移交单位、内容描述、起止档号、档案数量、读取电子档案所需要的软硬件环境和其他有助于说明移交电子档案的信息。

采用离线移交方式时,说明文件中还应包括离线移交的载体参数(如载体类型、载体容量等、载体编号、载体数量、载体制作单位和载体检查单位等信息。

6.1.3 形成移交信息包

档案移交单位应对电子档案移交清单与待移交电子档案的一致性进行检查,确认无误后,导出待移交电子档案的目录数据、内容数据和元数据,形成电子档案移交信息包。电子档案移交信息包的存储结构见附录 B,也可按照 DA/T 48 的要求进行组织。

6.2 检测电子档案移交信息包

档案移交单位应对电子档案移交信息包的真实性、完整性、可用性和安全性进行检测,检测合格后方可提交。电子档案移交信息包的检测方案宜按照 DA/T 70—2018 中 5.2 的要求执行。

6.3 形成登记表

档案移交单位在提交电子档案移交信息包之前应按照附录 C 中表 C.1 给出的样式和内容将相关信息写入《电子档案移交接收登记表》。

6.4 提交电子档案移交信息包

档案移交单位宜采用在线方式,使用相关应用系统向档案馆提交电子档案移交信息包。

采用离线移交方式时,档案移交单位应按规定方式将电子档案移交信息包存储在准备好的离线存储载体上。存储电子档案移交信息包的载体或载体盒上应标注可反映其内容的标签,载体和载体盒的标注方法见附录 D 。

7 电子档案接收

7.1 签收电子档案移交信息包

档案馆收到电子档案移交信息包后,应向档案移交单位进行确认。在线移交时,可通过应用系统签收功能或系统日志记录等方式进行确认。离线移交时,可将签收人、签收时间等信息记录到《电子档案移交接收登记表》(见附录 C )上。

7.2 检测电子档案移交信息包

档案馆应对签收的电子档案移交信息包的真实性、完整性、可用性和安全性进行检测,检测方案宜按照 DA/T 70—2018中5.2执行。检测不合格时应将电子档案移交信息包退回档案移交单位,并将检测结果信息一并退回,移交单位应重新组织提交。

7.3 办理交接手续

检测合格后,档案馆与档案移交单位应办理电子档案交接手续,填写完成《电子档案移交接收登记表》(见附录 C),由交接双方确认,各自留存。

如具备符合国家有关要求的电子印章系统或其他形式可确保《电子档案移交接收登记表》上电子印章的有效性,《电子档案移交接收登记表》可采用电子形式办理和保存;否则应以纸质形式盖章留存。

7.4 入库电子档案

档案馆将接收的电子档案纳入档案数字资源库管理,妥善保存电子档案移交信息包、《电子档案移交清单》和《电子档案移交接收登记表》,完成电子档案移交接收工作。


附 录 A

规范性

电子档案移交清单

表 A.1 规定了电子档案移交清单的样式。

附 录 B

(资料性

电子档案移交信息包的结构示例(以“件”的方式整理

图 B.1 中,说明文件命名为“说明文件 .TXT ”,存放与移交电子档案及其载体有关的信息,包括离线移交时的载体参数(如载体容量、载体类型等)、载体编号、载体制作单位、载体检查单位,以及电子档案的移交单位、内容描述、起止档号、档案数量、读取电子档案所需要的软硬件环境和其他各种有助于说明移交电子档案及其载体的信息。说明文件的模板见示例 1 。

图 B.1 中,目录文件命名为“目录文件 .XML ”,存放有关档案的目录信息,目录文件与每份电子档案相对应,根据电子档案具体归档方式进行描述。以“件”的方式管理为例,目录文件 XML 信息格式见示例 2 (encoding 属性值可以是“GB18030”“GB2312”“UTF-8”)。

图 B.1 中的全宗文件夹下,按分类层次组织文件夹,电子档案文件夹以档号命名,存放电子档案内容数据及其元数据。

图 B.1 中的其他文件夹命名为“其他”,存放各种与此次移交接收工作相关的文件,可包括:电子档案移交清单、元数据规范、数据封装规范、分类编号规则、内容数据命名规则、固化验证信息和交接过程信息(包含移交接收过程元数据和《电子档案移交接收登记表》的扫描件或电子签名件等。

附 录 C

(规范性

电子档案移交接收登记表

表 C.1 规定了电子档案移交接收登记表的样式。

填写说明:

1.移交接收事项:按移交单位或全宗号、移交档案的年度、批次等内容描述本次交接工作。

2.内容描述:交接档案内容、档案门类、数据类型、格式、交接方式、过程等说明事项。

3.移交电子档案数量:交接档案的文件总数和案卷总数。

4.移交数据量:一般以 GB 为单位,精确到小数点后 3 位。

5.载体起止顺序号:在线移交时,按载体内电子档案的存储结构组织数据,并标明其起止档号。

6.移交载体类型、规格、数量:在线移交时,填写“在线”。

7.真实性检测:对电子档案来源、内容及移交信息包的真实性,元数据准确性,元数据与内容关联一致性进行检测。

8.完整性检测:对电子档案及其元数据的完整性进行检测。

9.可用性检测:对电子档案内容、移交信息包的内容可读性和格式规范性进行检测。

10.安全性检测:对移交信息包计算机病毒、移交载体和移交过程的安全性进行检测。

附 录 D

(资料性

电子档案载体标注内容

载体标注:全宗号 - 档案门类代码 - 起止年度 - 载体顺序号。

载体盒标注:全宗号、档案门类代码、起止年度、起止档号、载体顺序号、数据量、密级、保管期限、存入日期、运行环境等。

——全宗号是档案馆给定每个全宗的代码;

——档案门类代码是载体内存储档案信息的类别,用英文大写字母表示,如文书档案用 WS 表示、科技档案用 KJ 表示、专业档案用 ZY 表示、照片档案用 ZP 表示、录音档案用 LY 表示、录像档案用 LX 表示等;

——起止年度是该载体内档案起止年度,如 2010 年至 2016 年即标定为 2010 / 2016 ;

——载体顺序号是由载体代号和顺序号两部分组成,载体代号分为 3 类:硬磁盘用 DK 表示、 DVD光盘用 DVD 表示、蓝光光盘用 BD 表示;

——数据量是载体内档案存储容量;

——存入日期是将电子档案存储至载体的日期,格式为“年月日”,如 2020年2月8日 即写为 20200208;

——运行环境即识别或操作电子档案的软硬件平台。

例:

载体标注:

     B×××-WS-2010 / 2016-DK1

     B×××-WS-2010 / 2016-DK2


上一条:DA/T 94-2022 电子会计档案管理规范 下一条:DA/T 92—2022 电子档案单套管理一般要求